Autofabrikanten hebben liever niet dat iedereen aan hun auto’s sleutelt. BMW heeft een unieke manier bedacht om ervoor te zorgen dat alleen dealers aan hun auto’s kunnen werken: speciale schroeven met het BMW-logo.
Voor liefhebbers wordt het steeds lastiger om te werken aan auto’s. Sowieso zitten nieuwe auto’s al vol met computers. Toch is het niet alleen de elektronica waar sleutelaars rekening mee moeten houden. Een nieuw patent laat zien dat BMW plannen heeft om iedereen die geen officiële dealer is buiten de motorruimte te houden. Het mag er dan wel uitzien als leuke marketing-gimmick, in werkelijkheid lijkt dit een poging om hobby-sleutelaars tegen te werken.
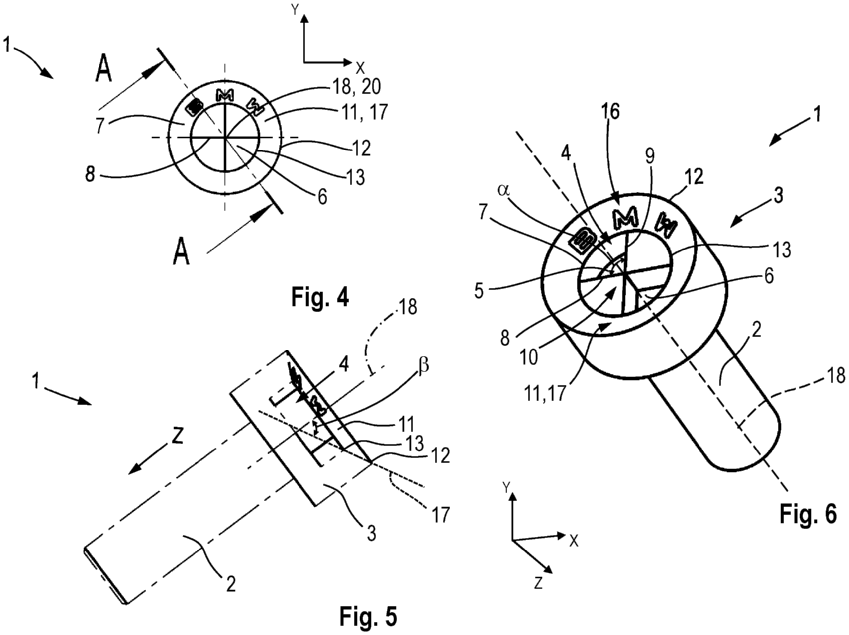
BMW wil namelijk nieuwe schroeven introduceren. Er worden al verschillende soorten schroeven gebruikt in auto’s: met een sleuf, kruiskop en torx. Hier heeft iedere hobbyist wel schroevendraaiers voor. BMW heeft een patent vastgelegd voor een speciale BMW-schroef. Hierbij is de kop een BMW-logo, waarbij twee van de vier vlakken in het logo verzonken zijn. Alleen met een speciaal stuk gereedschap is deze BMW-schroef los of vast te draaien.

Vier typen
Het lijkt een flauw grapje, maar het is dus mogelijk dat BMW deze speciale schroeven gaat toepassen in zijn auto’s. Iedereen die niet een speciale BMW-schroevendraaier heeft hiervoor, kan niet aan zijn of haar BMW werken. In het patent zijn vier verschillende typen schroeven vastgelegd, zoals met een platte en een bolle kop. Het ontwerp is best slim, met zelfs de letters BMW verwerkt in het ontwerp. Deze speciale schroeven staan zeker leuk op een BMW.
Er is echter geen twijfel over mogelijk dat BMW dit alleen wil om te zorgen dat jij naar de dealer gaat en niet zelf gaat sleutelen. Het is gewoon irritant als je iets simpels aan je auto wil doen en dit blijkt niet te kunnen zonder speciale BMW-schroevendraaier. Laten we hopen dat BMW deze schroeven alleen gaat gebruiken omdat het leuk staat en niet om hobbyisten dwars te zitten.
